RM新时代官方网站下载

    
    

    <dfn id="kq2ol"><u id="kq2ol"></u></dfn>
      <menu id="kq2ol"><rp id="kq2ol"><em id="kq2ol"></em></rp></menu>
        熱線電話13916299677
        圖文傳真021-66773338
        電子郵箱sale@cnspump.com

        產品簡介


        FP型增強聚丙烯離心泵系列產品均采用機械密封,全使用CFR-PP(增強聚丙烯)作為泵的材質,在同系列的塑料泵產品中,充分顯示了其結構優(yōu)質、重量輕、體積小、壽命長等特點,廣泛應用于化工,食品、制藥、電鍍、造紙、環(huán)保、水處理等部門,輸送酸、堿、鹽等腐蝕性液體。其中104型采用220V電壓,可供家庭選用。

         

        型號意義


        FP型增強聚丙烯離心泵

        性能參數本數據僅供參考,請以實際訂貨為準!


        型號 口徑 流量 m3/h 揚程 m 吸程 轉速 r/min 電壓 v 電機 功率 kw
        進口 出口
        FP20-15-60 (106) 20 15 1 5 3 2900 380 0.12
        FP20-20-90 (105) 20 20 3 6 3 380 0.37
        FP32-25-100 (104) 32 25 5 7 6 220 0.55
        FP32-25-105 (103) 32 25 6.3 8 6 380 0.75
        FP32-25-110 32 25 8 14 6 380 1.1
        FP40-32-125 (102) 40 32 12.5 20 6 380 1.5
        FP50-40-145 50 40 13 22 6 380 2.2
        FP65-50-150 (101) 65 50 25 25 6 380 4
        50FP-22 50 40 13 22 6 380 2.2
        65FP-25 65 50 20 25 6 380 4
        80FP-28 80 65 50 28 4 380 5.5
        80FP-32 80 65 50 32 4 380 7.5

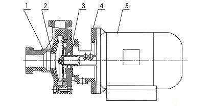
        結構圖紙


        FP型增強聚丙烯離心泵

        1、泵殼 2、葉輪-軸總成 3、機械密封 4、泵蓋 5、電機

        安裝尺寸本數據僅供參考,請以實際訂貨為準!


        FP型增強聚丙烯離心泵
        尺寸 型號 A B C D E F G
        FP20-15-60 310 190 20 15 90 70 100
        FP20-20-90 355 200 20 20 110 100 105
        FP32-25-100 370 198 32 25 125 100 110
        FP32-25-105 370 198 32 25 125 100 110
        FP32-25-110 450 235 32 25 125 100 110
        FP40-32-125 470 235 40 32 140 100 125
        FP50-40-145 550 290 50 40 140 100 125
        FP65-50-150 610 340 65 50 190 100 145
        1. 1、塑料泵應水平安裝,泵體不得承受管路重量,對于特殊要求垂直安裝的場合,電機務必朝上。
        2. 2、泵在使用前泵體內先加水。當抽吸液面高于軸心線時,啟動前打開吸入管道閥門即可,若抽吸液面低于泵軸心線時,管道需配底閥。
        3. 3、電機啟動前,應檢查其旋轉方向是否與泵轉向標記一致。
        4. 4、被輸送介質及溫度應在泵材質允許的范圍之內(見附表)。離心泵使用溫度FP≤80℃、FS≤60℃電機溫升不得超過80℃,環(huán)境溫度<40℃。
        5. 5、禁止空載運行。

        注意事項


        塑料泵材質的耐腐蝕性能
        介質 濃度 CFR-PP 介質 濃度 ABS
        25℃ 65℃ 90℃ 20℃ 60℃ 80℃
        硫酸H2SO4 98% 硫酸H2SO4 <30% ×
        70% 30-70% ×
        1-50% >75% × ×
        硝酸HNO3 硝酸HNO3 10%
        20% 20%
        10% 25-35%
        >50% × ×
        鹽酸HCL 0-30% × 鹽酸HCL <30% ×
        氫氟酸 × 氫氟酸 <10% ×
        40-48% ×
        醋酸 1-50% 醋酸 <20%
        磷酸 各種濃度 >30% × ×
        氫氧化鈉 氫氧化鈉
        氯化鈉 氯化鈉 ×
        氯化鐵
        乙醇 乙醇
        漂白液 漂白液 ×
        說明:√——良好; ○——可用、但有腐蝕; ×——不可用、腐蝕嚴重

        故障排除


        故障形式 產生原因 排除方法
        泵不出液
        1. 泵反轉
        2. 進液管道漏氣
        3. 泵腔蓄液太少
        4. 吸程太高
        5. 底閥漏水
        6. 葉輪受阻不轉
        1. 改變電機接線
        2. 杜絕漏氣
        3. 增加蓄液量
        4. 降低泵安裝位置
        5. 清理底閥
        6. 清洗泵殼、葉輪
        流量不足
        1. 吸入管徑太小
        2. 葉輪流道阻塞
        3. 揚程過高
        4. 吸入管路有空氣漏進
        5. 葉輪損壞
        1. 調換進液器
        2. 清洗葉輪
        3. 開大出液閥
        4. 杜絕漏氣
        5. 更換葉輪
        揚程過低
        1. 流量過太
        2. 轉速太低
        1. 關小出水閥
        2. 恢復額定轉速
        噪音過低
        1. 泵內有雜物
        2. 轉動件與固定件碰擦
        3. 軸嚴重磨損
        1. 檢查清理
        2. 調整間隙
        3. 更換泵軸
        漏液
        1. 泵殼固定螺釘松動
        2. 機械密封嚴重磨損
        1. 擰緊螺釘
        2. 更換機械密封

        上一產品:
        下一產品:
        RM新时代官方网站下载

        
        

        <dfn id="kq2ol"><u id="kq2ol"></u></dfn>
          <menu id="kq2ol"><rp id="kq2ol"><em id="kq2ol"></em></rp></menu>

            
            

            <dfn id="kq2ol"><u id="kq2ol"></u></dfn>
              <menu id="kq2ol"><rp id="kq2ol"><em id="kq2ol"></em></rp></menu>
                新时代官方下载 RM新时代正常可以出正常提 rm新时代靠谱的平台 新时代app游戏 RM新时代|首入球时间